Olej w filtrze powietrza youngtimera – jak temu zaradzić?

ponad rok temu  24.05.2017

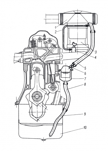
Schemat układu odpowietrzania skrzynki korbowej samochodu Fiat 125p z widocznym odolejaczem, rurką umożliwiającą odpływ oleju z odolejacza do miski olejowej i przewodem odprowadzającym nadmiar ciśnienia i opary do filtra powietrza. 1 – filtr powietrza, 2

do góry strony