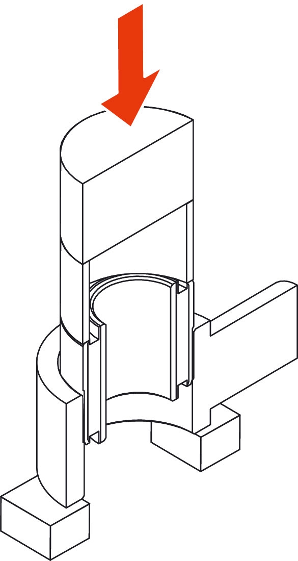
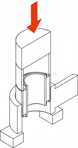
Prawidłowa wymiana tulei stopniowanej

ponad rok temu  10.05.2017Zobacz Artykuł

Prawidłowy sposób montażu 3

do góry strony