Znaleziono 44023 wyników
- ze wszystkich kategorii
-
warsztat
MECHANIKA POJAZDOWA MARIUSZ HUZIOR
-
artykuł
Dunlop SportSmart2 MAX z najlepszym wynikiem w teście magazynu MO
Dunlop SportSmart2 MAX zwyciężył w teście porównawczym, przeprowadzonym przez niemieckie czasopismo motocyklowe MO. Najnowsza propozycja Dunlopa w klasie Hypersport została rekomendowana jako najlepszy...
-
artykuł
Trzy tysiące kilometrów z północy na południe
BILSTEIN aktywnie wspiera projekty przygotowywane przez studentów uczelni wyższych na całym świecie. W październiku pojazd blue.cruiser ze zmodyfikowanym zawieszeniem BILSTEIN weźmie udział w wyścigu World...
-
artykuł
Rozszerzenie asortymentu SKV o linki hamulca ręcznego
Wychodząc na przeciw zapotrzebowaniom rynku oraz zgodnie z sugestiami klientów hurtowych marka SKV poszerza swoją ofertę o blisko 200 modeli linek hamulca ręcznego m. in. do aut marek takich jak BMW, Citroen,...
-
artykuł
Rozliczanie czasu pracy kierowców [TRANSPORT]
Kupić oprogramowanie czy zlecić usługę? Porównujemy koszty, analizujemy zalety i wady obu rozwiązań. Dla kogo lepszym rozwiązaniem jest oprogramowanie, dla kogo usługa rozliczania czasu kierowców?...
-
artykuł
Michelin na targach Inter Cars w Warszawie
Michelin przestawi swoją najnowszą letnią oponę sportową MICHELIN Pilot Sport 4 S do samochodów UHP (Ultra High Performance) takich jak: Aston Martin, Ferrari, Lamborghini, MC Laren, Porsche, Nissan GTR,...
-
artykuł
Polska może się stać liderem w branży elektrycznych pojazdów
Rosnąca w miastach popularność pojazdów z elektrycznym napędem i rządowe plany wsparcia tego segmentu przekładają się na bardzo dobre perspektywy rozwoju elektromobilności w Polsce w najbliższych...
-
artykuł
Jak wygląda zlecenie regeneracji przekładni kierowniczej?
Firma Lauber zwiększa atrakcyjność swojej usługi regenerowania wspomaganych przekładni kierowniczych. Od teraz profesjonalną regenerację można będzie wykonać taniej, szybciej i wygodniej.Do tej pory Lauber...
-
artykuł
Języki obce w branży samochodowej
Wydawnictwa Komunikacji i Łączności mają w swojej ofercie zestaw podręczników do nauki języków angielskiego i niemieckiego ukierunkowanych zawodowo.Podręczniki są dopuszczone do użytku szkolnego...
-
artykuł
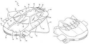
Konstrukcja latającego samochodu opatentowana
Amerykański urząd patentowy zarejestrował kolejny wniosek patentowy, złożony przez inżynierów Toyoty pracujących od kilku lat nad konstrukcją latającego samochodu.Rozwiązania opisane we wnioskach...


