Znaleziono 44263 wyników
- ze wszystkich kategorii
-
galeria zdjęć
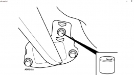
Opel Zafira B (A05) 1.9 CDTI - procedura wymiany rozrządu
-
galeria zdjęć
Zalety świec żarowych typu GN z funkcją dogrzewania
-
galeria zdjęć
Bezawaryjna klimatyzacja - o czym trzeba pamiętać?
-
galeria zdjęć
Kompresor klimatyzacji - naprawiać czy wymieniać?
-
galeria zdjęć
Być gotowym do sezonu – garść informacji o układzie klimatyzacji
-
artykuł
BSPL na targach FIAA w Madrycie
BSPL weźmie udział jako wystawca w nowej edycji Międzynarodowych Targów Autobusowych i Autokarowych (FIAA). Targi odbędą się w dniach od 23 do 26 maja w Madrycie. W trakcie targów prezentowane są...
-
artykuł
Problem z decyzją nt. maszyny do klimatyzacji? [TEMAT MIESIĄCA]
Obecnie stosowane są równocześnie 3 rodzaje czynnika chłodzącego: R134a, R1234yf, R744 (CO2). Czy trzeba kupić 3 stacje klimatyzacji?Na rynku nadal najsilniej obecny jest czynnik 134a. Od stycznia tego roku...
-
ogloszenie
BLACHARZ SAMOCHODOWY
Autoryzowany Zakład Naprawy Nadwozi Polskiej Grupy Dealerów w Katowicach poszukuje Blacharza Samochodowego.Współpracujemy w oparciu o umowę o pracę lub kontrakt (własna działalność gospodarcza).Zapewniamy:-...
-
artykuł
Odzież ochronna a bezpieczeństwo pracy
Odzież ochronna może uratować życieMiliony ludzi ryzykują na świecie swoje zdrowie w czasie pracy. Według szacunków Światowej Organizacji Pracy (ILO) codziennie na skutek wypadków lub chorób...
-
artykuł
BILSTEIN na Automechanice w Dubaju
Na początku maja w Dubaju odbędzie się kolejna edycja branżowych targów Automechanika. Na przykładzie oferty amortyzatorów i zestawów zawieszenia BILSTEIN prześledzić można z czym mierzą...


