Znaleziono 43994 wyników
- ze wszystkich kategorii
-
artykuł
Montaż oraz prawidłowe osadzenie łożyska koła pasowego
Wymiana łożyska w kompresorze musi być wykonana zgodnie z obowiązującymi zasadami, a ich nie przestrzeganie naraża na konieczność ponownego demontażu kompresora czy też sprzęgła (napędu).Pamiętać należy,...
-
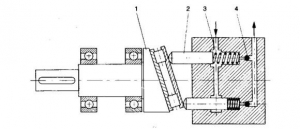
artykuł
Sprężarka tłokowa z tarczą wychylną pojedynczego działania
Prezentujemy kolejne schematy, tym razem osiowych sprężarek tłokowych z tarczą wychylną.1 – zawór serwisowy 2 – złącze gwintowe 3 – płyta zaworów 4 – tłok z...
-
artykuł
Sprężarka spiralna scroll
Sprężarka spiralna, w slangu warsztatowym nazywana scrollem, to typ rotacyjnej sprężarki wyporowej.Element sprężający składa się z dwóch spiralnych wstęg, z których jedna jest na stałe...
-
artykuł
Budowa sprężarki łopatkowej
Przedstawiamy schemat budowy sprężarki łopatkowej.1 – złącze ciśnieniowe 2 – złącze ssawne 3 – zawory 4 – cylinder 5 – wirnik 6 – łopatka 7 – obudowa 8 –...
-
artykuł
Sprężarka tłokowo-rzędowa – budowa i schemat
Sprężarki tłokowe rzędowe o stałej wydajności są produkowane z przeznaczeniem do dużych układów klimatyzacji, np. w autobusach. Mają znacznie większą wydajność w porównaniu do...
-
artykuł
Budowa i schemat sprężarki tłokowej osiowej
Przedstawiamy budowę sprężarki tłokowej osiowej z tarczą wychylną o płynnie zmiennej pojemności skokowej.Budowa kompresora/sprężarki do klimatyzacji w samochodach: 1. Port ssania 2. Pokrywa tylna 3. Port...
-
artykuł
125 lat marki Dunlop
Lato roku 1888. Jack, syn Johna Boyda Dunlopa, jeździ na rowerku. Twarde koła trójkołowca sprawiają, że jazda po brukowanej ulicy nie należy do najprzyjemniejszych. Pomysłowy ojciec z kawałka...
-
artykuł
Tip-Topol: poznać i zaspokoić potrzeby klientów
Rozmawiamy z Piotrem Boruckim, Dyrektorem Programu Oponiarskiego w firmie Tip-Topol.Promocje, nowości, szkolenia... - Tip-Topol jest jednym z najczęstszych gości rubryki Aktualności naszego portalu. Widać, że...
-
artykuł
Aspekty zdrowotne używania klimatyzacji samochodowej
Na przestrzeni ostatnich kilku lat korzystanie z klimatyzacji w naszych samochodach stało się oczywistością. Niemal wszystkie produkowane w chwili obecnej auta już w standardzie wyposażone są w klimatyzację,...
-
artykuł
Dysza dławiąca w układzie klimatyzacji
Przyjrzyjmy się dyszy rozprężnej, zwanej także dławiącą, która w niektórych układach klimatyzacji montowana jest zamiast zaworu rozprężnego.Dysza najczęściej znajduje się w podszybiu, przed...


